جنجال تازه بیامو؛ پیچی که باز نمیشود
- مجموعه: دنیای خودرو

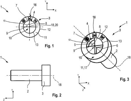
به گزارش دیجیاتو، بی ام و حق اختراع پیچهایی با طراحی اختصاصی را ثبت کرده است. سر این پیچها از طرح لوگوی بی ام و الهام گرفته شده است؛ دایرهای که به چهار بخش تقسیم شده است، با فرورفتگیها و برآمدگیهای نامتقارن که باز کردن آنها با ابزارهای استاندارد غیرممکن است. این یعنی برای باز کردن یک پیچ ساده، احتمالاً به ابزاری نیاز خواهید داشت که فقط در نمایندگیهای رسمی یافت میشود.
این طرح شامل مدلهای مختلف تخت، گرد و سوکتی است که همگی از همان الگوی چهارقسمتی لوگوی بی ام و پیروی میکنند.
در نگاه اول، استفاده از پیچهایی با طرح لوگو شاید در کابین یا موتور خودرو جالب به نظر برسد، اما برای کسی که قصد تعمیر خودرو را دارد، اصلاً جذاب نیست. این طراحی یعنی پیچگوشتیهای معمولی نمیتوانند این پیچها را باز کنند. بنابراین برای یک تعمیر جزئی، به دلیل نداشتن یک سری پیچگوشتی خاص، مجبور میشوید به نمایندگی مراجعه کنید.
جای تعجب نیست که واکنشها به این طرح در فضای مجازی منفی بوده است. علاقهمندان به حوزه خودرو این حرکت را مانعی جدید بر سر راه حق تعمیر میدانند. البته کاربران ردیت با شوخی به این موضوع واکنش نشان دادهاند. آنها معتقدند که تولیدکنندگان قطعات یدکی در چین احتمالاً قبل از اینکه این پیچها روی خودروها نصب شوند، ابزار مخصوص باز کردن آنها را با قیمت ارزان روانه بازار خواهند کرد!

البته باید در نظر داشت که خودروسازان سالانه هزاران طرح را ثبت اختراع میکنند که هرگز از روی کاغذ فراتر نمیروند. این طرح در ژوئن ۲۰۲۴ ثبت و در دسامبر ۲۰۲۵ عمومی شده است، اما فعلاً فقط در حد یک ایده باقی مانده است.
بااینحال، صرف نظر از تولید یا عدم تولید این پیچها، نگرانی اصلی پابرجا باقی میماند. در عصر خودروهای برقی و پیشرفته، خودروسازان هر روز محصولات خود را پیچیدهتر میکنند تا وابستگی مالکان به نمایندگیهای رسمی بیشتر شود.










